В видео появляются знаковые для города локации — площадь Фестивальная и просторы парка «Дубовая Роща» («Дубовка»): большой тир, остановка у парка, главная сцена и смотровое колесо. Когда эти места были наполнены людьми — аттракционами, прогулками по реке и фестивалям. Сегодня они становятся фоном для разговора о памяти, потере и жизни, которая продолжается, несмотря ни на что.
Во фракции "Слуга народа" раздаются призывы остановить эскалацию и начать мирные переговоры с Россией. Как нам лучше поступить?
голосов
Погода
Узнай прогноз для твоего города
Обновлено по состоянию на
Курс валют на сегодня
Узнайте актуальную информацию по состоянию на
03.02.2026
ТОП-5 САМЫХ БОГАТЫХ МЭРОВ - ДАННЫЕ ИЗ ДЕКЛАРАЦИЙ (млн. грн.)
1
Терехов, Харьков
2,000
2
Бондаренко, Черкассы
1,342
3
Кличко, Киев
1,233
4
Андреев, Ужгород
1,182
5
Мрочко, Херсон
1,148
Трамп - это второй Янукович
Информатор доказывает, почему это не просто слова
ТОП-7 самых дорогих брендов мира по версии VisualCapitalist
1
Apple
$516 млрд.
2
Microsoft
$340 млрд.
3
Google
$333,4 млрд.
4
Amazon
$308,9 млрд.
5
Samsung
$99,4 млрд.
6
Wal,art
$96,8
7
TikTok
$84,2 млрд.
Трамп требует, чтобы Украина согласилась на невыгодный мир. Как нам быть?
голосов
Залужный будет молчать
Против эксглавкома имеются уголовные производства
Кабмин решил дать 10% надбавки к зарплате за знание английского
Вы начнете учить английский?
голосов
ТОП-5 ПОЛИТИКОВ УКРАИНЫ С НАИВЫСШИМ РЕЙТИНГМ
По опросу SOCIS 21 января 2025 года
1
Залужный
36,1%
2
Зеленский
24,3%
3
Порошенко
9,4%
4
Разумков
8,3%
5
Тимошенко
6%
САМЫЙ СТИЛЬНЫЙ ИЗ ЗАСТРОЙЩИКОВ КИЕВА
Что известно об Игоре Никонове
Россия снова фабрикует фейки
Cуджанцы рассказали Информатору, как Кремль придумал массовые убийства в Русском Поречном
Це ж було вже!
Почему, как и перед началом вторжения, о конце войны пишут на Западе, а Киев все отрицает
Неужели история действительно циклическая или украинская власть ничего не научила?
ТОП-10 украинских министров с самыми большими зарплатами в 2024 году
1
Р. УМЕРОВ, министр обороны
1,623 млн.
2
Г.Галущенко, министр энергетики
1,594 млн.
3
И.КЛИМЕНКО, МВД
1,561 млн.
4
В. ЛЯШКО, МОЗ
1,536 млн.
5
М. БІДНИЙ, министр молодежи
1,443 млн.
6
С.МАРЧЕНКО, министр финансов
1,437 млн.
7
О.ЛИСОВОЙ, министр образования
1,403 млн.
8
О.ЖОЛНОВИЧ, Минсоцполитики
1,390 млн.
9
О.НЕМЧІНОВ, министр КМУ
1,237 млн.
10
А.СИБИГА, МИД
1,234 млн.
Актуальный курс криптовалют
BINANCE COIN (BNB)
774.52
DOGECOIN (DOGE)
0.11
THETA (THETA)
0.22
LITECOIN (LTC)
60.13
BITCOIN (BTC)
78199.4
Теория рукопожатий
В Киеве ТРЦ Gulliver объединил Валерия Залужного и Дмитрия Медведева
ПЯТЕРКА САМЫХ БОГАТЫХ В МИРЕ
По версии Bloomberg
1
Илон Маск
$432 млрд
2
Джефф Безос
$239 млрд
3
Марк Цукерберг
$207 млрд
4
Ларри Элисон
$192 млрд
5
Бернар Арно
$176 млрд
Как Минюст упустил кибератаку
Об уязвимости реестров знали еще осенью 2020 года
Более 1000 дней прошло с начала полномасштабного вторжения
Как вы считаете, сколько еще будет продолжаться война?
голосов
Это лохотрон, а не эвакуация!
Репортаж Информатора из Сумской области, где из-за обстрелов принудительно эвакуируют жителей
Вместо родного дома - невыносимые условия, одноразовое питание и отсутствие денег
Жители Курской области: для Путина мы никто
РЕПОРТАЖ ИНФОРМАТОРА ИЗ СУДЖИ
Как Игорь Рец выжил на тропе ухилянтов из Закарпатья в Румынию
Корреспондент Информатора забрался на высокогорье Карпат и провел неделю в убежище для туристов, чтобы взять интервью у ухилянтов; на своем пути он встретил пограничников, а также столкнулся с многочисленными нарушениями закона
Путешествие Игоря закончилось в ТЦК и СП Хуста, откуда, как говорят, одна дорога - в учебку, а потом на фронт. Итогом поездки стал подробный отчет о приключениях. Мы публикуем его в нескольких частях
Подземная тюрьма ТЦК в Закарпатье
История Александра Литвина
Человека с бронью из Днепра задержали возле Говерлы, обвинили в попытке незаконного пересечения границы и удерживали в ТЦК городка Хуст
ТОП-10 самых мощных экономик мира
По данным Всемирного банка
1
США
$27 360,935 млрд.
2
Китай
$17 794,782 млрд
3
Германия
$4 456,081 млрд.
4
Япония
$ 4 212,945 млрд.
5
Индия
$3 549,919 млрд.
6
Великобритания
$3 340,032 млрд.
7
Франция
$3 030,904 млрд.
8
Италия
$2 254,851 млрд.
9
Бразилия
$2 173,666 млрд.
10
Канада
$2 140,086 млрд.
Поджег авто ЗСУ
Кому именно спецслужбы РФ через ресурсы по трудоустройству предлагают легкие деньги за преступление против обороны страны: расследование Информатора
Под видом человека, ищущего быстрый заработок, наш корреспондент Игорь Рец пообщался в соцсетях с российскими вербовщиками и сделал выводы, которые могут быть полезны для безопасности ваших детей и друзей
Кулинарный рецепт от Информатора
Вера Брежнева выдала свою слабость, но в Виннице показали, как это делать
Вера Брежнева обожает каши и ест их на завтрак, дополняя мясом или другим продуктом с высоким содержанием белка. Конечно, каши приготовлены с минимальным добавлением жира. Однако певица в некоторых интервью рассказывала, что любит традиционные украинские каши, насыщенные вкусами.
Примирение видеосервисов Amazon и Google, переработанные бумажные пакеты от Apple и мягкие роботы для ВМС и NASA: ТОП новостей дня
С каждым днем мир вокруг нас развивается все быстрее. И не всегда можно уследить за тем, какие технологические прорывы, открытия или решения совершает человечество. Каждый день в новостной ленте мелькает немало интересного и уже к концу дня их скапливается приличное количество. Именно поэтому Информатор Tech подготовил ТОП новостей из мира технологий.
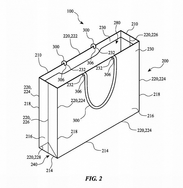
Apple запатентовала пакеты из второсырья
Техногиганты периодически пытаются патентовать новейшие технологии. Однако у Apple есть патенты, которые не связаны с техникой. Дело в том, что купертиновцы запатентовали «Белый бумажный пакет, изготовленный из вторсырья с ручкой из бумажной пряжи круглой вязки». Документ зарегистрирован под номером 10259616 в Ведомстве по патентам и товарным знакам США. В нем описывается бумажный пакет прямоугольной формы с двумя ручками. Конструкция пакета детально изображена на иллюстрациях к заявке, которых насчитывается около десятка. Как видно, «ручки из бумажной пряжи круглой вязки» могут свободно свисать вниз. Конструкция пакета детально изображена на иллюстрациях к заявке
HBO попросила Трампа не использовать мемы "Игры престолов" для политики
Телеканал HBO призвал президента США Дональда Трампа не использовать элементы сериала "Игра престолов" в своих политических коллажах, которые он использовал неоднократно. 18 апреля в официальном Twitter-аккаунте президента появился коллаж, на котором виден силуэт Трампа в облаке тумана. Картинка сопровождается подписью, набранной шрифтом из "Игры престолов". "Игра окончена". Для ненавистников и левых радикальных демократов: Никакого сговора. Никакого воспрепятствования (правосудию)", - гласит подпись. Вскоре после публикации твита пресс-служба телеканала, выпускающего сериал, отреагировала на картинку с возмущением. "Хотя мы можем понять большой интерес к "Игре престолов", особенно сейчас, когда выходит последний сезон, мы все же хотели бы, чтобы наша интеллектуальная собственность не использовалась в политических целях", - говорится в заявлении HBO.
Breeze Automation создает мягких роботов для ВМС и NASA
Американская компания Breeze Automation на конференции TechCrunch Sessions: Robotics + AI представила своих мягких роботов, разработка которых ведется по заказу NASA и ВВС США. Об этом сообщает TechCrunch. Breeze использует концепцию гибкой робототехники с высокой степенью адаптации. Роботизированные руки компании представляют собой заполненные воздухом тканевые конструкции, которые могут захватывать и перемещать предметы, а также совершать с ними другие манипуляции. На конференции компания продемонстрировала несколько работов, в том числе систему, разработанную для ВВС и использующую гарнитуру HTC Vive для удаленного управления роботом. Кроме того, стартап создает роботизированные системы без центрального приводного вала для NASA. Большая часть финансирования компании в настоящее время поступает из федеральных контрактов, в частности от ВМС и NASA, но в дальнейшем Breeze больше сместится в сторону коммерческих контрактов. В дальнейшем Breeze больше сместится в сторону коммерческих контрактов
Amazon и Google остановили бойкот видеосервисов друг друга
Компания Google и компания Amazon прекратили взаимный бойкот видеосервисов. Об этом сообщает Bloomberg. В ближайшие месяцы официальное приложение YouTube станет доступно на Amazon Fire TV и умных телевизорах Fire TV Edition. В это же время приложение Prime Video от Amazon появится на Google Chromecast и Android TV. "Мы рады работать с Amazon над выпуском официальных приложений YouTube на устройствах Fire TV по всему миру", - заявила Хизер Ривера, руководитель отдела партнерств по продукции YouTube. В Amazon ответили, что "рады представить приложение Prime Video для устройств с медиаплеером Chromecast и OC Android TV". Пользователи приложения YouTube смогут получить доступ к полной библиотеке контента и воспроизводить видео в формате 4K HDR со скоростью 60 кадров в секунду. Юзеры устройств с медиаплеером Chromecast будут иметь доступ к каталогу Prime Video. Каталог включает в себя последние сезоны оригинальных сериалов Amazon. Компания Google и компания Amazon прекратили взаимный бойкот видеосервисов
BlackBerry Messenger закроется в конце мая
Разработчики BlackBerry Messenger (BBM) сообщили о своих намерениях закрыть в ближайшее время свой сервис. Стикеры и BBMoji нельзя будет экспортировать. Об этом сообщили в блоге BlackBerry. BlackBerry Messenger прекратит свою работу 31 мая, до этого времени у пользователей есть возможность загрузить свои фотографии, видео и прочие файлы, которыми они делились с помощью приложения. Экспортировать список контактов и историю сообщений не получится. После отключения BBM все пользовательские данные будут удалены в течение 7 дней. В качестве причины закрытия команда BBM называет переход пользователей на другие платформы, с которыми тяжело конкурировать: «Технологическая индустрия очень подвижна, и, несмотря на наши значительные усилия, пользователи перешли на другие платформы, в то время как новым пользователям было сложно войти в систему», — написали разработчики BlackBerry Messenger. BBM был топовым сервисом для обмена сообщениями во времена, когда устройства BlackBerry занимали топовые позиции в сегменте смартфонов. По мере перехода пользователей на Android и iOS другие сервисы набирали популярность. После отключения BBM все пользовательские данные будут удалены в течение 7 дней
Космический грузовик Cygnus успешно пристыковался к МКС
19 апреля в 12:28 по киевскому времени член 59-й экспедиции Международной космической станции астронавт NASA Энн Макклейн с помощью робототехнического комплекса Canadarm2 выполнила успешный захват грузового корабля Cygnus NG-11 Roger B. Chaffee. Об этом NASA сообщила в своем Twitter. В 14:31 корабль благополучно пристыковался к модулю Unity. Cygnus доставил на станцию около 3447 кг полезного груза - провизию и вещи для экипажа, материалы для научных исследований, оборудование для станции и выхода в открытый космос, компьютеры и комплектующие, кубсаты. Корабль пробудет на станции до 23 июля. Запуск грузовика состоялся 17 апреля с Центра космических полетов на острове Уоллопс (штат Вирджиния, США) с помощью ракеты-носителя «Антарес», основная конструкция первой ступени которой разработана и изготовлена в Украине. В рамках программы «Антарес» украинская сторона выполнила весь комплекс работ по проектированию, разработке и изготовлению материальной части основной конструкции первой ступени для PH, заказанной Национальным космическим агентством США.
Раннее мы сообщали о том, что Amazon планирует создать бесплатную музыкальную подписку. Компания планирует продавать новую опцию через свои колонки Echo. Также Google прислал пользователю 10 смартфонов вместо бракованного Pixel 3. Узнать еще больше актуальных новостей из мира технологий можно в нашем Telegram-канале и на Facebook.