В видео сам Апостол — священник с пудовым крестом — в компании очаровательной Смерти ходит по позициям оккупантов и уничтожает их. Клип является кавером на песню «Серебро» группы Би-2. Восторженные отзывы под композицией свидетельствуют о широкой народной поддержке.
Во фракции "Слуга народа" раздаются призывы остановить эскалацию и начать мирные переговоры с Россией. Как нам лучше поступить?
голосов
Погода
Узнай прогноз для твоего города
Обновлено по состоянию на
Курс валют на сегодня
Узнайте актуальную информацию по состоянию на
12.01.2026
ТОП-5 САМЫХ БОГАТЫХ МЭРОВ - ДАННЫЕ ИЗ ДЕКЛАРАЦИЙ (млн. грн.)
1
Терехов, Харьков
2,000
2
Бондаренко, Черкассы
1,342
3
Кличко, Киев
1,233
4
Андреев, Ужгород
1,182
5
Мрочко, Херсон
1,148
Трамп - это второй Янукович
Информатор доказывает, почему это не просто слова
ТОП-7 самых дорогих брендов мира по версии VisualCapitalist
1
Apple
$516 млрд.
2
Microsoft
$340 млрд.
3
Google
$333,4 млрд.
4
Amazon
$308,9 млрд.
5
Samsung
$99,4 млрд.
6
Wal,art
$96,8
7
TikTok
$84,2 млрд.
Трамп требует, чтобы Украина согласилась на невыгодный мир. Как нам быть?
голосов
Залужный будет молчать
Против эксглавкома имеются уголовные производства
Кабмин решил дать 10% надбавки к зарплате за знание английского
Вы начнете учить английский?
голосов
ТОП-5 ПОЛИТИКОВ УКРАИНЫ С НАИВЫСШИМ РЕЙТИНГМ
По опросу SOCIS 21 января 2025 года
1
Залужный
36,1%
2
Зеленский
24,3%
3
Порошенко
9,4%
4
Разумков
8,3%
5
Тимошенко
6%
САМЫЙ СТИЛЬНЫЙ ИЗ ЗАСТРОЙЩИКОВ КИЕВА
Что известно об Игоре Никонове
Россия снова фабрикует фейки
Cуджанцы рассказали Информатору, как Кремль придумал массовые убийства в Русском Поречном
Це ж було вже!
Почему, как и перед началом вторжения, о конце войны пишут на Западе, а Киев все отрицает
Неужели история действительно циклическая или украинская власть ничего не научила?
ТОП-10 украинских министров с самыми большими зарплатами в 2024 году
1
Р. УМЕРОВ, министр обороны
1,623 млн.
2
Г.Галущенко, министр энергетики
1,594 млн.
3
И.КЛИМЕНКО, МВД
1,561 млн.
4
В. ЛЯШКО, МОЗ
1,536 млн.
5
М. БІДНИЙ, министр молодежи
1,443 млн.
6
С.МАРЧЕНКО, министр финансов
1,437 млн.
7
О.ЛИСОВОЙ, министр образования
1,403 млн.
8
О.ЖОЛНОВИЧ, Минсоцполитики
1,390 млн.
9
О.НЕМЧІНОВ, министр КМУ
1,237 млн.
10
А.СИБИГА, МИД
1,234 млн.
Актуальный курс криптовалют
BINANCE COIN (BNB)
903.75
DOGECOIN (DOGE)
0.14
THETA (THETA)
0.3
LITECOIN (LTC)
79.23
BITCOIN (BTC)
90634.3
Теория рукопожатий
В Киеве ТРЦ Gulliver объединил Валерия Залужного и Дмитрия Медведева
ПЯТЕРКА САМЫХ БОГАТЫХ В МИРЕ
По версии Bloomberg
1
Илон Маск
$432 млрд
2
Джефф Безос
$239 млрд
3
Марк Цукерберг
$207 млрд
4
Ларри Элисон
$192 млрд
5
Бернар Арно
$176 млрд
Как Минюст упустил кибератаку
Об уязвимости реестров знали еще осенью 2020 года
Более 1000 дней прошло с начала полномасштабного вторжения
Как вы считаете, сколько еще будет продолжаться война?
голосов
Это лохотрон, а не эвакуация!
Репортаж Информатора из Сумской области, где из-за обстрелов принудительно эвакуируют жителей
Вместо родного дома - невыносимые условия, одноразовое питание и отсутствие денег
Жители Курской области: для Путина мы никто
РЕПОРТАЖ ИНФОРМАТОРА ИЗ СУДЖИ
Как Игорь Рец выжил на тропе ухилянтов из Закарпатья в Румынию
Корреспондент Информатора забрался на высокогорье Карпат и провел неделю в убежище для туристов, чтобы взять интервью у ухилянтов; на своем пути он встретил пограничников, а также столкнулся с многочисленными нарушениями закона
Путешествие Игоря закончилось в ТЦК и СП Хуста, откуда, как говорят, одна дорога - в учебку, а потом на фронт. Итогом поездки стал подробный отчет о приключениях. Мы публикуем его в нескольких частях
Подземная тюрьма ТЦК в Закарпатье
История Александра Литвина
Человека с бронью из Днепра задержали возле Говерлы, обвинили в попытке незаконного пересечения границы и удерживали в ТЦК городка Хуст
ТОП-10 самых мощных экономик мира
По данным Всемирного банка
1
США
$27 360,935 млрд.
2
Китай
$17 794,782 млрд
3
Германия
$4 456,081 млрд.
4
Япония
$ 4 212,945 млрд.
5
Индия
$3 549,919 млрд.
6
Великобритания
$3 340,032 млрд.
7
Франция
$3 030,904 млрд.
8
Италия
$2 254,851 млрд.
9
Бразилия
$2 173,666 млрд.
10
Канада
$2 140,086 млрд.
Поджег авто ЗСУ
Кому именно спецслужбы РФ через ресурсы по трудоустройству предлагают легкие деньги за преступление против обороны страны: расследование Информатора
Под видом человека, ищущего быстрый заработок, наш корреспондент Игорь Рец пообщался в соцсетях с российскими вербовщиками и сделал выводы, которые могут быть полезны для безопасности ваших детей и друзей
Кулинарный рецепт от Информатора
Телеведущая Илона Довгань показала другую сторону украинской независимости
"Когда я читала старинные книги с кулинарными рецептами - заметила, что наша кухня уже тогда была очень изысканная. Например, пармезан использовали в украинской кухне сто и более лет назад, меренгу также делали еще тогда – в 20-30-х годах", – рассказала Илона Довгань.
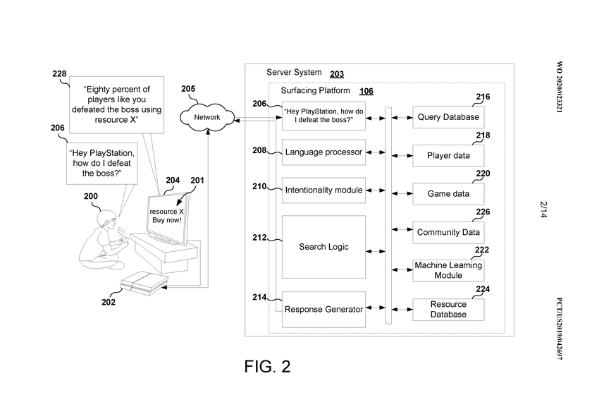
Sony запатентовала ассистента для PlayStation, который поможет пройти сложные моменты в играх
Похоже, что компании геймерской индустрии всячески пытаются заставить геймеров платить больше. Подписки с бесплатными играми, премиумный доступ, сезонные пропуска, лутбоксы и прочее - это еще цветочки по сравнению с тем, что сейчас разрабатывают гиганты отрасли. В сети появился патент компании Sony, в котором говорится о голосовом помощнике, который будет помогать геймерам проходить сложные уровни. Об этом сообщает Информатор Tech, ссылаясь на PushSquare Данный помощник будет собирать всю доступную информацию с открытых источников в сети - читать гайды, отсматривать геймплей других геймеров и вычислять оптимальный способ для достижения цели игроком. Судя по изображениям в патенте, геймеру в сложной ситуации нужно будет сказать «PlayStation, как победить босса?», и система сразу подскажет ему. В патентной документации показано, что помощник отвечает на запрос пользователя так: "80% игроков победили босса, используя ресурс "икс". И тут же система предлагает купить этот ресурс. В других случаях ИИ подскажет использовать определенное оружие или экипировку для удачного прохождения. Ответ помощника Схема работы системы Стоит отметить, что такую систему уже добавили в игру Gran Turismo Sport. Правда там она работает немного по-другому, и предлагает пользователю купить машину получше за реальную валюту, если тот проиграл гонку. В патенте же описывает подобный механизм, но уже с использованием ИИ, который будет собирать информацию из сети, анализировать ее и выдавать игроку гайд. Похоже, что компания решила использовать видео прохождения игр, которые геймеры записывают еще с третьего поколения консолей. Пока нельзя утверждать, что система попадет в PlayStation 5, но это уже второй патент компании, в котором говорится о помощнике с искусственным интеллектом. Предложение купить некий ресурс Одна из подсказок Ранее мы сообщали, что в Fortnite началось новое событие с новым контентом и Харли Квинн. Также писали о том, что в Google Stadia появится бесплатный доступ. Узнать еще больше актуальных новостей из мира технологий и игр можно в нашем Telegram-канале, и на страничках в Facebook и Instagram.